服務熱線
180-5003-0233

本實用新型涉及紙卷分切技術領域,尤其涉及一種票據草莓视频色版下载。
背景技術:
草莓视频色版下载是一種將寬幅卷筒紙分切並複卷成多條窄幅卷材的紙張加工設備,常用於收銀紙、電腦票據、POS打印紙、不幹膠標簽等票據的分切製造。一般的,票據草莓视频色版下载上設有印色機構,用於對票據開始收卷時的開頭做標記,以起到提示用戶標簽即將用完的作用。傳統的,票據草莓视频色版下载的印色裝置位於收卷機構的下方,采用氣缸加上水筆構成,收卷開始時,通過氣缸驅動水筆壓在紙上畫出色帶即可實現標記。但是,采用上述方式,由於水筆的筆頭並不是統一平整的,且所有的水筆是固定在一根杆上,很難保證所有的水筆角度一致,導致畫出來的標記線有差異,色帶長度或寬度不一致,色帶不穩定。
技術實現要素:
基於此,有必要提供一種票據草莓视频色版下载,該票據草莓视频色版下载印刷的色帶整齊穩定。
其技術方案如下:
一種票據草莓视频色版下载,包括:
放卷機構,用於將待分切紙卷放卷;
導輥輸送機構,包括多根過紙輥,所述導輥輸送機構用於將待分切紙卷輸送至草莓视频色版下载構處;
草莓视频色版下载構,用於將待分切紙卷分切成至少兩條分紙卷;
收卷機構,用於將至少兩條所述分紙卷分別收卷;及
印色機構,所述印色機構設置在所述放卷機構與所述草莓视频色版下载構之間,所述印色機構包括墨盤、印色墨輥以及印色膠輥,所述印色膠輥設置在其中兩根所述過紙輥之間,所述印色墨輥與所述印色膠輥相對設置,所述印色墨輥用於將所述墨盤內的墨傳遞至所述印色膠輥上的待分切紙卷上。
在其中一個實施例中,所述墨盤包括第一墨盤和第二墨盤,所述印色膠輥包括與所述第一墨盤相對應的第一膠輥和與所述第二墨盤相對應的第二膠輥,所述印色墨輥包括與所述第一膠輥相對應的第一墨輥和與所述第二膠輥相對應的第二墨輥,所述第一膠輥與所述第二膠輥之間設有轉麵過紙輥,在所述第一膠輥處,待分切紙卷的一麵與所述第一墨輥相對設置,在所述第二膠輥處,待分切紙卷的另一麵與所述第二墨輥相對設置。
在其中一個實施例中,所述印色機構還包括第一氣缸和第二氣缸,所述第一氣缸與所述第一膠輥驅動連接,所述第一氣缸用於驅動所述第一膠輥與所述第一墨輥貼合或分開,所述第二氣缸與所述第二膠輥驅動連接,所述第二氣缸用於驅動所述第二膠輥與所述第二墨輥貼合或分開。
在其中一個實施例中,所述印色機構還包括印色機架,所述第一墨盤、第二墨盤、第一膠輥、第二膠輥、第一墨輥、第二墨輥以及轉麵過紙輥均設置在所述印色機架上,所述第一墨盤、第一膠輥、第一墨輥與所述第二墨盤、第二膠輥、第二墨輥分別對稱設置在所述印色機架的兩側,所述轉麵過紙輥包括第一轉麵輥和第二轉麵輥,所述第一轉麵輥設於所述第二膠輥的下方,所述第二轉麵輥設於所述第二膠輥的上方。
在其中一個實施例中,所述印色機架上還設有進紙輥、第一備用輥以及第二備用輥,所述進紙輥與所述第一備用輥對稱設置在所述印色機架的兩側,所述第二備用輥與所述第一轉麵輥相對於所述印色機架的兩側的中部對稱設置,所述第二轉麵輥設置在所述第二備用輥與所述第一轉麵輥的中心線上。
在其中一個實施例中,所述第一墨輥包括至少兩根相互傳動的墨輥,其中最首端的一根所述墨輥位於所述第一墨盤內,其中最尾端的一根所述墨輥與所述第一膠輥相對設置;
所述第二墨輥包括至少兩根相互傳動的墨輥,其中最首端的一根所述墨輥位於所述第二墨盤內,其中最尾端的一根所述墨輥與所述第二膠輥相對設置。
在其中一個實施例中,所述第一墨輥包括三根相互傳動的墨輥,所述第二墨輥包括三根相互傳動的墨輥。
在其中一個實施例中,所述印色膠輥通過齒輪傳動驅動,所述印色墨輥通過齒輪傳動驅動。
在其中一個實施例中,所述票據草莓视频色版下载還包括糾偏器,所述糾偏器設置在所述印色機構與所述草莓视频色版下载構之間,且所述糾偏器設置在所述印色膠輥與所述導輥輸送機構的其中一根過紙輥之間。
在其中一個實施例中,所述票據草莓视频色版下载還包括壓紙機構,所述壓紙機構設於所述收卷機構的上方,當所述收卷機構的收卷軸進行收卷時,所述壓紙機構用於壓緊所述收卷機構的收卷軸。
本實用新型的有益效果在於:
所述票據草莓视频色版下载,放卷機構、導輥輸送機構、草莓视频色版下载構以及收卷機構能夠依次實現待分切紙卷的放卷、輸送、分切以及分紙卷的收卷,通過在放卷機構與草莓视频色版下载構之間設置印色機構,待分切紙卷放卷後先經過印色機構後再進行分切,當上一次的收卷完成後,印色機構開始工作,印色墨輥與印色膠輥貼合,印色墨輥將墨盤裏的墨傳遞到待分切紙卷上印刷色帶,實現在待分切紙卷開始收卷時的開頭做下標記,為下一次的收卷做好準備,無需印刷色帶時,印色墨輥與印色膠輥分開,印色機構停止工作。所述票據草莓视频色版下载,通過在分切之前對待分切紙卷進行印色,且采用印色墨輥與印色膠輥配合進行印色,印刷得到的色帶長度和寬度一致,色帶穩定,能夠有效被機器識別。
附圖說明
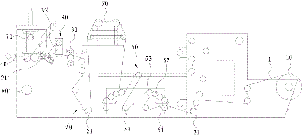
圖1為本實用新型實施例所述的票據草莓视频色版下载的結構示意圖;
圖2為本實用新型實施例所述的印色機構的結構示意圖。
附圖標記說明:
10、放卷機構,20、導輥輸送機構,21、過紙輥,30、草莓视频色版下载構,40、收卷機構,50、印色機構,51、墨盤,511、第一墨盤,512、第二墨盤,52、印色墨輥,521、第一墨輥,522、第二墨輥,53、印色膠輥,531、第一膠輥,532、第二膠輥,54、轉麵過紙輥,541、第一轉麵輥,542、第二轉麵輥,55、印色機架,56、進紙輥,57、第一備用輥,58、第二備用輥,60、糾偏器,70、壓紙機構,80、排廢管道,90、驅紙機構,91、驅紙輥,92、驅動氣缸,1、待分切紙卷。
具體實施方式
為了便於理解本實用新型,下麵將參照相關附圖對本實用新型進行更全麵的描述。附圖中給出了本實用新型的較佳實施方式。但是,本實用新型可以以許多不同的形式來實現,並不限於本文所描述的實施方式。相反地,提供這些實施方式的目的是使對本實用新型的公開內容理解的更加透徹全麵。
需要說明的是,當元件被稱為“固定於”另一個元件,它可以直接在另一個元件上或者也可以存在居中的元件。當一個元件被認為是“連接”另一個元件,它可以是直接連接到另一個元件或者可能同時存在居中元件。相反,當元件被稱作“直接在”另一元件“上”時,不存在中間元件。本文所使用的術語“垂直的”、“水平的”、“左”、“右”以及類似的表述隻是為了說明的目的,並不表示是唯一的實施方式。
除非另有定義,本文所使用的所有的技術和科學術語與屬於本實用新型的技術領域的技術人員通常理解的含義相同。本文中在本實用新型的說明書中所使用的術語隻是為了描述具體的實施方式的目的,不是旨在於限製本實用新型。本文所使用的術語“及/或”包括一個或多個相關的所列項目的任意的和所有的組合。本文所使用的術語“第一”、“第二”等在本文中用於區分對象,但這些對象不受這些術語限製。
如圖1所示,一種票據草莓视频色版下载,包括:
放卷機構10,用於將待分切紙卷1放卷;
導輥輸送機構20,包括多根過紙輥21,所述導輥輸送機構20用於將待分切紙卷1輸送至草莓视频色版下载構30處;
草莓视频色版下载構30,用於將待分切紙卷1分切成至少兩條分紙卷;
收卷機構40,用於將至少兩條所述分紙卷分別收卷;及
印色機構50,所述印色機構50設置在所述放卷機構10與所述草莓视频色版下载構30之間,所述印色機構50包括墨盤51、印色墨輥52以及印色膠輥53,所述印色膠輥53設置在其中兩根所述過紙輥21之間,所述印色墨輥52與所述印色膠輥53相對設置,所述印色墨輥52用於將所述墨盤51內的墨傳遞至所述印色膠輥53上的待分切紙卷1上。本實施例中,所述印色膠輥53設置在其中兩根所述過紙輥21之間,具體指待分切紙卷1進行傳輸走紙時,待分切紙卷經過導輥輸送機構20的一根過紙輥21傳輸進入印色機構50中,然後穿過印色膠輥53後傳輸離開印色機構50,再繼續通過導輥輸送機構20的另一根過紙輥21繼續走紙。
所述票據草莓视频色版下载,放卷機構10、導輥輸送機構20、草莓视频色版下载構30以及收卷機構40能夠依次實現待分切紙卷1的放卷、輸送、分切以及分紙卷的收卷,通過在放卷機構10與草莓视频色版下载構30之間設置印色機構50,待分切紙卷1放卷後先經過印色機構50後再進行分切,當上一次的收卷完成後,印色機構50開始工作,印色墨輥52與印色膠輥53貼合,印色墨輥52將墨盤51裏的墨傳遞到待分切紙卷1上印刷色帶,實現在待分切紙卷1開始收卷時的開頭做下標記,為下一次的收卷做好準備,無需印刷色帶時,印色墨輥52與印色膠輥53分開,印色機構50停止工作。所述票據草莓视频色版下载,通過在分切之前對待分切紙卷1進行印色,且采用印色墨輥52與印色膠輥53配合進行印色,印刷得到的色帶長度和寬度一致,色帶穩定,能夠有效被機器識別。
具體地,印色機構50可通過票據草莓视频色版下载的控製係統進行控製。當上一次的收卷完成後,控製係統給出指令,可先使機器整體速度降低,然後控製印色機構50開始工作,在待分切紙卷1上印上一定長度如兩米長度的色帶,為下一次收卷做好準備。所述印色膠輥53為可移動結構,印色膠輥53可通過氣缸驅動,當無需印色時,印色機構50不工作,印色膠輥53與印色墨輥52為分開狀態,當需要印色時,印色機構50工作,氣缸驅動印色膠輥53推進貼合印色墨輥52,即可將墨盤51裏的墨傳遞到待分切紙卷1上,實現印色。
可選地,所述印色膠輥53通過齒輪傳動驅動,齒輪傳動驅動平穩可靠,能夠保持待分切紙卷1的輸送平穩,進而提高印色的均勻性。所述印色墨輥52通過齒輪傳動驅動,對墨的傳導平穩,能夠提高印色的均勻性。
本實施例中,如圖1、圖2所示,所述墨盤51包括第一墨盤511和第二墨盤512。所述印色膠輥53包括與所述第一墨盤511相對應的第一膠輥531和與所述第二墨盤512相對應的第二膠輥532。所述印色墨輥52包括與所述第一膠輥531相對應的第一墨輥521和與所述第二膠輥532相對應的第二墨輥522。所述第一膠輥531與所述第二膠輥532之間設有轉麵過紙輥54。在所述第一膠輥531處,待分切紙卷1的一麵與所述第一墨輥521相對設置;在所述第二膠輥532處,待分切紙卷1的另一麵與所述第二墨輥522相對設置。采用上述結構,本實施例的票據草莓视频色版下载具備雙麵印色功能,可以根據需要控製第一膠輥531與第一墨輥521配合,及/或,控製第二膠輥532與第二墨輥522配合,進而實現對待分切紙卷1進行雙麵印色或單麵印色。
進一步地,所述印色機構50還包括第一氣缸和第二氣缸。所述第一氣缸與所述第一膠輥531驅動連接,所述第一氣缸用於驅動所述第一膠輥531與所述第一墨輥521貼合或分開。所述第二氣缸與所述第二膠輥532驅動連接,所述第二氣缸用於驅動所述第二膠輥532與所述第二墨輥522貼合或分開。進而,通過控製第一氣缸或第二氣缸,即可對應控製第一膠輥531與第一墨輥521配合,或第二膠輥532與第二墨輥522配合,實現對待分切紙卷1進行雙麵印色或單麵印色,控製簡單方便。
具體地,轉麵過紙輥54可以設計為多種結構,如包括多根輥,並對應設置各根輥的設置位置,其目的是實現待分切紙卷1的轉麵,使得第一墨輥521與第二墨輥522分別與待分切紙卷1的不同表麵相對,便於實現雙麵印色。本實施例中,所述印色機構50還包括印色機架55。所述第一墨盤511、第二墨盤512、第一膠輥531、第二膠輥532、第一墨輥521、第二墨輥522以及轉麵過紙輥54均設置在所述印色機架55上。所述第一墨盤511、第一膠輥531、第一墨輥521與所述第二墨盤512、第二膠輥532、第二墨輥522分別對稱設置在所述印色機架55的兩側。所述轉麵過紙輥54包括第一轉麵輥541和第二轉麵輥542,所述第一轉麵輥541設於所述第二膠輥532的下方,所述第二轉麵輥542設於所述第二膠輥532的上方。采用上述結構,進入印色機構50的待分切卷紙依次通過第一膠輥531、第一轉麵輥541、第二轉麵輥542及第二膠輥532後穿出,即可實現待分切紙卷1的轉麵,結構簡單。
進一步地,所述印色機架55上還設有進紙輥56、第一備用輥57以及第二備用輥58。所述進紙輥56與所述第一備用輥57對稱設置在所述印色機架55的兩側。所述第二備用輥58與所述第一轉麵輥541相對於所述印色機架55的兩側的中部對稱設置。所述第二轉麵輥542設置在所述第二備用輥58與所述第一轉麵輥541的中心線上。采用上述結構,印色機構50的兩側呈對稱結構,待分切紙卷1進入印色機構50時,可依次穿過進紙輥56、第二備用輥58、第一膠輥531、第一轉麵輥541、第二轉麵輥542及第二膠輥532後穿出,也可以依次穿過第一備用輥57、第一轉麵輥541、第二膠輥532、第二備用輥58、第二轉麵輥542及第一膠輥531後穿出,均可實現待分切紙卷1的走紙,印色機構50安裝時無需區分相應側,安裝便捷。
本實施例中,所述第一墨輥521包括至少兩根相互傳動的墨輥,其中最首端的一根所述墨輥位於所述第一墨盤511內,其中最尾端的一根所述墨輥與所述第一膠輥531相對設置。采用上述結構,至少兩根墨輥相互傳動將第一墨盤511裏的墨傳遞至第一膠輥531上,能夠使得傳遞到待分切紙卷1上的色帶顏色均勻,圖形規則。所述第二墨輥522包括至少兩根相互傳動的墨輥,其中最首端的一根所述墨輥位於所述第二墨盤512內,其中最尾端的一根所述墨輥與所述第二膠輥532相對設置。同樣的,能夠使得傳遞到待分切紙卷1上的色帶顏色均勻,圖形規則。
可選地,所述第一墨輥521包括三根相互傳動的墨輥。第一墨輥521采用三根墨輥相互傳動,將第一墨盤511裏的墨傳遞至第一膠輥531上,整體傳動結構設計簡單,且能保證傳遞到待分切紙卷1上的色帶顏色均勻好。所述第二墨輥522包括三根相互傳動的墨輥。同樣的,第二墨輥522采用三根墨輥相互傳動,將第二墨盤512裏的墨傳遞至第二膠輥532上,整體傳動結構設計簡單,且能保證傳遞到待分切紙卷1上的色帶顏色均勻好。
本實施例中,如圖1所示,所述票據草莓视频色版下载還包括糾偏器60,所述糾偏器60設置在所述印色機構50與所述草莓视频色版下载構30之間,且所述糾偏器60設置在所述印色膠輥53與所述導輥輸送機構20的其中一根過紙輥21之間。通過采用上述結構,糾偏器60能夠對待分切紙卷1的橫向跑偏進行控製,使得後續加工動作容易配合,前後段的收發料動作平整。具體地,糾偏器60的結構可參考現有技術,此處不再贅述。
本實施例中,所述票據草莓视频色版下载還包括壓紙機構70,所述壓紙機構70設於所述收卷機構40的上方。當所述收卷機構40的收卷軸進行收卷時,所述壓紙機構70用於壓緊所述收卷機構40的收卷軸。通過設置壓紙機構70,壓紙機構70能夠在收卷時將收卷軸上的分紙卷壓緊,使收卷出來的分紙卷緊密。具體地,壓紙機構70可以通過氣缸驅動上下移動,其具體結構可參考現有技術,此處不再贅述。
所述票據草莓视频色版下载還包括排廢管道80與吹料風機(圖中未示出)。所述排廢管道80上設有用於裝入所述草莓视频色版下载構30切掉的廢邊料的排廢孔。所述吹料風機用於將裝入所述排廢管道80中的廢邊料吹出。采用上述結構,草莓视频色版下载構30切掉的廢邊料能夠通過排廢孔放進排廢管道80內,然後通過排廢風機將廢邊料吹出去,能夠防止廢料推積影響設備正常工作。
所述票據草莓视频色版下载還包括設置在所述草莓视频色版下载構30與所述收卷機構40之間的驅紙機構90。所述驅紙機構90包括驅紙輥91,所述驅紙輥91用於驅動經草莓视频色版下载構30分切後的分紙卷運動至所述收卷機構40處。所述驅紙機構90還包括用於驅動所述驅紙輥91壓緊或鬆開分紙卷的驅動氣缸92。采用上述結構,驅紙輥能夠驅動分紙卷運動,此外,驅動氣缸92能夠驅動驅紙輥91壓緊或鬆開分紙卷,進而當收卷完成時,驅紙輥91能夠壓緊分紙卷,防止收卷完成將分紙卷割斷時紙會變鬆或者掉下去,而當需要收卷時,驅紙輥91又能夠鬆開並驅動分紙卷運動,本實施例的驅紙機構90具備驅紙和壓住紙的功能。本實施例所述的票據草莓视频色版下载可以通過傳統的FQ500票據草莓视频色版下载改造製造得到,製造方便,能夠節省製造成本。
以上所述實施例的各技術特征可以進行任意的組合,為使描述簡潔,未對上述實施例中的各個技術特征所有可能的組合都進行描述,然而,隻要這些技術特征的組合不存在矛盾,都應當認為是本說明書記載的範圍。
以上所述實施例僅表達了本實用新型的幾種實施方式,其描述較為具體和詳細,但並不能因此而理解為對實用新型專利範圍的限製。應當指出的是,對於本領域的普通技術人員來說,在不脫離本實用新型構思的前提下,還可以做出若幹變形和改進,這些都屬於本實用新型的保護範圍。因此,本實用新型專利的保護範圍應以所附權利要求為準。

技術特征:
1.一種票據草莓视频色版下载,其特征在於,包括:
放卷機構,用於將待分切紙卷放卷;
導輥輸送機構,包括多根過紙輥,所述導輥輸送機構用於將待分切紙卷輸送至草莓视频色版下载構處;
草莓视频色版下载構,用於將待分切紙卷分切成至少兩條分紙卷;
收卷機構,用於將至少兩條所述分紙卷分別收卷;及
印色機構,所述印色機構設置在所述放卷機構與所述草莓视频色版下载構之間,所述印色機構包括墨盤、印色墨輥以及印色膠輥,所述印色膠輥設置在其中兩根所述過紙輥之間,所述印色墨輥與所述印色膠輥相對設置,所述印色墨輥用於將所述墨盤內的墨傳遞至所述印色膠輥上的待分切紙卷上。
2.根據權利要求1所述的票據草莓视频色版下载,其特征在於,所述墨盤包括第一墨盤和第二墨盤,所述印色膠輥包括與所述第一墨盤相對應的第一膠輥和與所述第二墨盤相對應的第二膠輥,所述印色墨輥包括與所述第一膠輥相對應的第一墨輥和與所述第二膠輥相對應的第二墨輥,所述第一膠輥與所述第二膠輥之間設有轉麵過紙輥,在所述第一膠輥處,待分切紙卷的一麵與所述第一墨輥相對設置,在所述第二膠輥處,待分切紙卷的另一麵與所述第二墨輥相對設置。
3.根據權利要求2所述的票據草莓视频色版下载,其特征在於,所述印色機構還包括第一氣缸和第二氣缸,所述第一氣缸與所述第一膠輥驅動連接,所述第一氣缸用於驅動所述第一膠輥與所述第一墨輥貼合或分開,所述第二氣缸與所述第二膠輥驅動連接,所述第二氣缸用於驅動所述第二膠輥與所述第二墨輥貼合或分開。
4.根據權利要求2所述的票據草莓视频色版下载,其特征在於,所述印色機構還包括印色機架,所述第一墨盤、第二墨盤、第一膠輥、第二膠輥、第一墨輥、第二墨輥以及轉麵過紙輥均設置在所述印色機架上,所述第一墨盤、第一膠輥、第一墨輥與所述第二墨盤、第二膠輥、第二墨輥分別對稱設置在所述印色機架的兩側,所述轉麵過紙輥包括第一轉麵輥和第二轉麵輥,所述第一轉麵輥設於所述第二膠輥的下方,所述第二轉麵輥設於所述第二膠輥的上方。
5.根據權利要求4所述的票據草莓视频色版下载,其特征在於,所述印色機架上還設有進紙輥、第一備用輥以及第二備用輥,所述進紙輥與所述第一備用輥對稱設置在所述印色機架的兩側,所述第二備用輥與所述第一轉麵輥相對於所述印色機架的兩側的中部對稱設置,所述第二轉麵輥設置在所述第二備用輥與所述第一轉麵輥的中心線上。
6.根據權利要求2所述的票據草莓视频色版下载,其特征在於,所述第一墨輥包括至少兩根相互傳動的墨輥,其中最首端的一根所述墨輥位於所述第一墨盤內,其中最尾端的一根所述墨輥與所述第一膠輥相對設置;
所述第二墨輥包括至少兩根相互傳動的墨輥,其中最首端的一根所述墨輥位於所述第二墨盤內,其中最尾端的一根所述墨輥與所述第二膠輥相對設置。
7.根據權利要求6所述的票據草莓视频色版下载,其特征在於,所述第一墨輥包括三根相互傳動的墨輥,所述第二墨輥包括三根相互傳動的墨輥。
8.根據權利要求1-7任一項所述的票據草莓视频色版下载,其特征在於,所述印色膠輥通過齒輪傳動驅動,所述印色墨輥通過齒輪傳動驅動。
9.根據權利要求1-7任一項所述的票據草莓视频色版下载,其特征在於,還包括糾偏器,所述糾偏器設置在所述印色機構與所述草莓视频色版下载構之間,且所述糾偏器設置在所述印色膠輥與所述導輥輸送機構的其中一根過紙輥之間。
10.根據權利要求1-7任一項所述的票據草莓视频色版下载,其特征在於,還包括壓紙機構,所述壓紙機構設於所述收卷機構的上方,當所述收卷機構的收卷軸進行收卷時,所述壓紙機構用於壓緊所述收卷機構的收卷軸。
技術總結
本實用新型公開了一種票據草莓视频色版下载,包括放卷機構,用於將待分切紙卷放卷;導輥輸送機構,包括多根過紙輥,所述導輥輸送機構用於將待分切紙卷輸送至草莓视频色版下载構處;草莓视频色版下载構,用於將待分切紙卷分切成至少兩條分紙卷;收卷機構,用於將至少兩條所述分紙卷分別收卷;及印色機構,所述印色機構設置在所述放卷機構與所述草莓视频色版下载構之間,所述印色機構包括墨盤、印色墨輥以及印色膠輥,所述印色墨輥與所述印色膠輥相對設置,所述印色墨輥用於將所述墨盤內的墨傳遞至所述印色膠輥上的待分切紙卷上。所述票據草莓视频色版下载,通過在分切之前對待分切紙卷進行印色,且采用印色墨輥與印色膠輥配合進行印色,印刷得到的色帶長度和寬度一致,色帶穩定。
技術研發人員:劉秀昌;羅旺成;朱華兵
受保護的技術使用者:廣州九恒條碼有限公司
文檔號碼:201720982309
技術研發日:2017.08.07
技術公布日:2018.03.30